自复位液压螺栓拉伸器,螺栓拉伸器,PA集团液压科技(上海)有限公司
  • 返回
    返回
    自复位液压螺栓拉伸器
    型号:SOV-HSR
    【 工作压力 】:150Mpa
    【 螺栓直径 】:M20~M100
    【 最大负载 】:3200kN
    【 应用行业 】:用于螺栓螺母安装拆卸。
    立即咨询
    自复位液压螺栓拉伸器
    产品特点
    独特的快速自复位,超行程保护,活塞行程提示。
    活塞/油缸偏差补偿。
    覆盖螺栓规格1”到3-1/2”。
    可选配BS1560/ANSIB16.5/API的法兰。
    封闭式油缸设计消除了活塞在回程时杂质进入的可能性。
    相比手工复位的拉伸器,自复位的设计大大提高了生产效率。
    和实际操作的安全性。
    应用图片
    炼油厂阀门螺栓预紧
    炼油厂阀门螺栓预紧
    桥梁建设钢结构螺栓预紧
    桥梁建设钢结构螺栓预紧
    钢结构螺栓预紧
    钢结构螺栓预紧
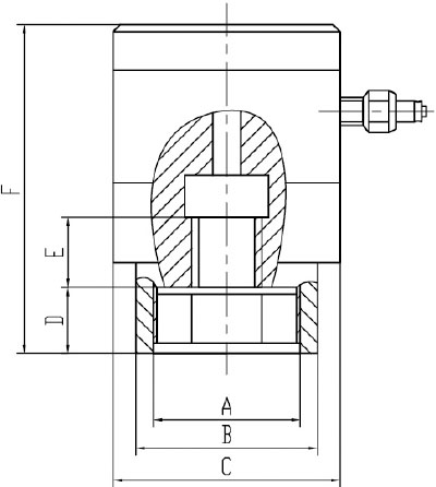
    产品参数
    规格型号 工作压力 (Mpa) 螺栓直径 最大负载  (kN) 受力面积 (mm²) 缸体直径  (mm) 缸体高度 (mm) 支撑环直径(mm) 本体高度 (mm) 重量 (kg)
    SOV-HSR-0-20 150 M20 160 1067 66 93 63 142 2.5
    SOV-HSR-0-22 150 M22 160 1067 66 93 63 144 2.5
    SOV-HSR-1-24 150 M24 280 1867 87 117 68 175 3.7
    SOV-HSR-1-27 150 M27 280 1867 87 117 68 178 3.7
    SOV-HSR-2-24 150 M24 450 3001 103 117 75 175 5.5
    SOV-HSR-2-27 150 M27 450 3001 103 117 75 178 5.5
    SOV-HSR-2-30 150 M30 450 3001 103 120 80 184 5.5
    SOV-HSR-2-33 150 M33 450 3001 103 123 84 190 5.5
    SOV-HSR-2-36 150 M36 450 3001 103 126 89 196 5.5
    SOV-HSR-3-33 150 M33 660 4401 118 123 88 192 7.5
    SOV-HSR-3-36 150 M36 660 4401 118 126 96 198 7.5
    SOV-HSR-3-39 150 M39 660 4401 118 130 96 204 7.5
    SOV-HSR-3-42 150 M42 660 4401 118 133 105 211 7.5
    SOV-HSR- 4-45 150 M45 1000 6668 140.5 132 112 212 11.5
    SOV-HSR-4-48 150 M48 1000 6668 140.5 135 114 218 11.5
    SOV-HSR-4-52 150 M52 1000 6668 140.5 139 118 225 11.5
    SOV-HSR- 5-52 150 M52 1000 6668 140.5 142 114 231 11.5
    SOV-HSR-5-56 150 M56 1000 6668 140.5 145 120 - 11.5
    SOV-HSR-5-60 150 M60 1500 10003 175.5 148 120 248 18.5
    SOV-HSR-5-64 150 M64 1500 10003 175.5 154 138 258 18.5
    SOV-HSR-5-68 150 M68 1500 10003 175.5 161 138 262 18.5
    SOV-HSR-5-72 150 M72 1500 10003 175.5 161 153 273 18.5
    SOV-HSR-5-76 150 M76 1500 10003 219 167 156 283 18.5
    SOV-HSR-5-80 150 M80 2500 16671 219 167 157 297 33
    SOV-HSR-6-72 150 M72 2500 16671 219 171 182 308 33
    SOV-HSR-6-76 150 M76 2500 16671 219 180 190 312 33
    SOV-HSR-6-80 150 M80 2500 16671 219 180 190 232 33
    SOV-HSR-6-85 150 M85 2500 16671 219 186 205 334 33
    SOV-HSR-7-90 150 M90 3200 21339 252 186 200 -341 47
    SOV-HSR-7-95 150 M95 3200 21339 252 186 200 346 47
    SOV-HSR-7-100 150 M100 3200 21339 252 192 200 356 47

    *如因产品更新迭代,表中参数有所变动,恕不另行通知。

    为您推荐更多产品
    返回顶部
    Copyright © 2021 PA集团液压科技(上海)有限公司 沪ICP备58110966号-1
    PA集团
    网站地图